PPH G41F-10S typ A prírubový membránový ventil DN15-300 1/2"-12" ANSI štandard

Priemyselný vysokoteplotný mäkko utesnený ručný membránový ventil PPH pre zásobovanie vodou, štandard ANSI
Použitie: Všeobecné zásobovanie vodou
Stredná teplota: vysoká, stredná
Napájanie: Manuálne
Médium: Kyselina
Veľkosť portu: DN15–DN300
Štruktúra: Membrána
Názov produktu: Membránový ventil PPH
Pripojenie: Prírubový koniec
Certifikát: ISO9001
Tlaková trieda: 1,0 MPa (10 bar)
Typ ventilu: 1-cestný
Tesnenie: EPDM F46
Dodacia lehota: 7 dní
Minimálne množstvo objednávky: 1 kus

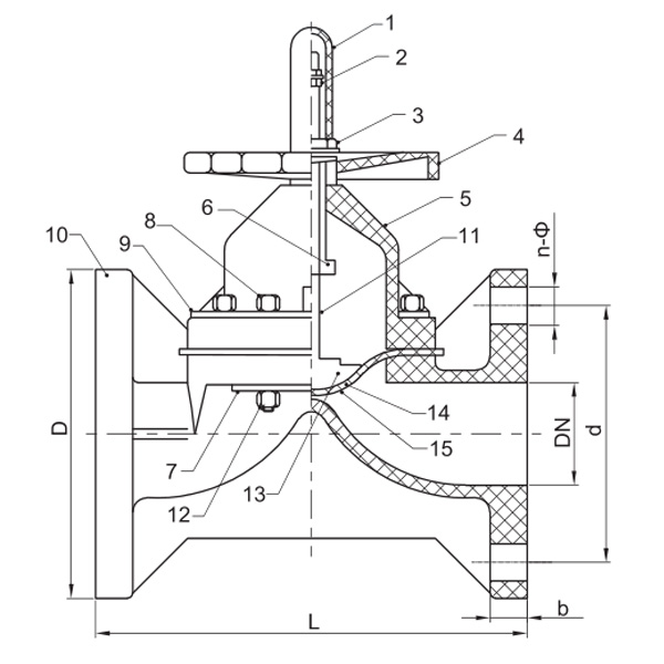
Štrukturálne vlastnosti produktu
1. Tesniaca membrána je vyrobená z F46 alebo PFA, s odolnosťou v ohybe ≥120 000 cyklov a odolnosťou proti korózii ekvivalentnou F4.
2.Ventil má skrutkovú zdvíhaciu štruktúru, vyznačuje sa nízkym prevádzkovým krútiacim momentom a vynikajúcou stabilitou.

App Temperature Bound List

Materiál Stredná teplota ℃ Materiál Stredná teplota ℃
PVC-C -20 ℃ ~ 95 ℃ PVC-U -5 ℃ ~ 45 ℃
FRPP -20 ℃ ~ 120 ℃ PPH -20 ℃ ~ 110 ℃
PVDF 40 ℃ ~ 150 ℃
Tabuľka materiálov dielov
Nie Meno Materiál Množ.
1 Limit krytia AS 1
2 Skrutka Oceľ 1
3 Upevňovacia matica 65 miliónov 1
4 koleso FRPP, FRPP, FRPP, PPH, FRPP 1
5 Kapota PVC-C,PVC-U,PVDF,PVDF,FRPP 1
6 Orech Meď 1
7 Platen Oceľ
8 Skrutka Oceľ
9 Platen Oceľ
10 Telo Stell
11 Stonka PVC-C,PVC-U,PVDF,PVDF,FRPP 1
12 Orech Cap PVC-C,PVC-U,PVDF,PPH,FRPP 1
13 disk PVDF, železo 1
14 Flim EPDM 1
15 Membrána F46/PFA/PTFE 1

Zoznam dimenzií

Špecifikácia d
(mm)
D
(mm)
L
(mm)
b
(mm)
n-Ф
(mm)
1/2" (15) 60 95 125 14 4-Φ16
3/4" (20) 70 115 135 18 4-Φ16
1" (25) 79 115 145 18 4-Φ16
1¼" (32) 89 135 160 18 4-Φ18
1½" (40) 98 145 180 20 4-Φ19
2" (50) 121 160 210 22 4-Φ19
2½" (65) 140 180 250 24 4-Φ19
3" (80) 152 195 300 24 8-Φ19
4" (100) 191 229 350 26 8-Φ19
5" (125) 216 250 400 30 8-Φ22
6" (150) 241 280 455 30 8-Φ23
8" (200) 299 343 570 40 8-Φ23
10" (250) 362 406 680 40 12-Φ23

Spätná väzba správy
O nás
Kaixin Pipeline Technologies Co., Ltd.
Založená v roku 1999, Kaixin Pipeline Technologies Co., Ltd. je high-tech podnik integrujúci výskum a vývoj, výrobu, predaj a služby. Spoločnosť je držiteľom viacerých prestížnych certifikácií, vrátane National High-Tech Enterprise, “Little Giant” Specialized and Sophisticated SME, National Single Product Champion (pestovanie), Provincial Technology-based SME, Ningbo Specialized and Sophisticated SME, Ningbo Single Product Champion (kultivácia), Ningbo Polymer Pipe & Valve Technology R&D Center, District-Level Enterprise Management Factory, District-Level Data Management Factornov Úroveň zrelosti spôsobilosti 2.
Špecializujeme sa na vývoj, výrobu a dodávku nekovových antikoróznych produktov pre chemické aplikácie, vrátane plastových ventilov, potrubí, potrubných armatúr a čerpadiel odolných voči korózii. Naše produktové portfólio zahŕňa materiály ako PVC-C, PVC-U, PVDF, PPH a FRPP s komplexnou škálou typov a špecifikácií. Predovšetkým naše škrtiace klapky môžu dosiahnuť priemer DN1000, zatiaľ čo potrubia a armatúry dosahujú až DN800, čím riešia medzery na trhu a zachovávajú si našu konkurenčnú výhodu v tomto odvetví.
Kaixin, ktorý sa riadi zásadou „poháňaný technológiou, držať krok s dobou“, prideľuje ročne takmer 10 miliónov RMB na výskum a vývoj. Zabezpečujeme špičkovú kvalitu produktov prostredníctvom štandardizovanej automatizovanej výroby a prísneho získavania dovážaných surovín. V súlade s našou medzinárodnou stratégiou rozvoja neustále monitorujeme trendy na svetovom trhu a využívame digitálne kanály, aby sme zákazníkom na celom svete priniesli vysokokvalitné produkty „Made in China“.
Ningbo • Fenghua R&D & Production Base
S celkovou investíciou 200 miliónov RMB spoločnosť Kaixin Ultra-Pure Pipe Technology (Ningbo) Co., Ltd. založila v spolupráci s univerzitami a výskumnými ústavmi nové materiálové laboratórium, vybudovala modernú výrobnú základňu a nainštalovala 8 plne automatizovaných výrobných liniek na modifikované plasty a 8 na polymérne materiály. Zariadenie je určené na výskum a vývoj, výrobu a aplikáciu nových modifikovaných plastov a polymérnych materiálov. Kaixin sa tiež zaviazal prilákať špičkových talentov naprieč disciplínami, neustále podporovať inovácie produktov a vývoj značky s cieľom stať sa celosvetovo uznávaným lídrom v oblasti výskumu a vývoja a výroby polymérových ventilov, potrubí a armatúr.
Čestný certifikát
  • honor
  • honor
  • honor
  • honor
  • honor
  • honor
  • honor
  • honor
  • honor
Správy