PPH Q41F-10S Guľový ventil prírubový DN15-300 GB Štandard

Továrenská dodávka vysokotlakového trvanlivého guľového ventilu PPH na mieru s mini 4 palcovým 10 kg DN50-DN300 plastovým priemyselným prírubovým guľovým ventilom
Číslo modelu: Q41F-10S
Materiál: Plast
Forma pripojenia: Príruba
Režim jazdy: Manuálny
Nominálny tlak: 10 kg
Kanál: Priamy typ
Konštrukcia: Pevný guľový ventil
Funkcia: Obtokový ventil
Teplota: Vysoká teplota
Použitie: Priemyselné použitie, Vodné priemyselné použitie
Špecifikácia: DN50-DN300
Štandard: ANSI
Pôvod: Ningbo, Zhejiang
Kód HS: 8481804090
MOQ: 2 ks

Tlaková trieda: 1,0 MPa (10 bar) $ $

Štrukturálne vlastnosti produktu

1.Engineering plastové série guľový ventil prijíma FRPP, PVDF, PVC-C, PVC-U, PPH atď. termoplastický plast odolný voči korózii, ktorý sa vytvoril v jednom vstrekovaní a má silnú schopnosť odolávať korózii.
2. Spoľahlivé tesnenie, malý otvárací a zatvárací moment Otvárací a zatvárací moment.
3. Malá odolnosť voči tekutinám, rýchle otváranie / zatváranie.
4.Jednoduchá štruktúra, krásny vzhľad.

App Temperature Bound List

Materiál Stredná teplota ℃ Materiál Stredná teplota ℃
PVC-C -20 ℃ ~ 95 ℃ PVC-U -5 ℃ ~ 45 ℃
FRPP -20 ℃ ~ 120 ℃ PPH -20 ℃ ~ 110 ℃
PVDF 40 ℃ ~ 150 ℃

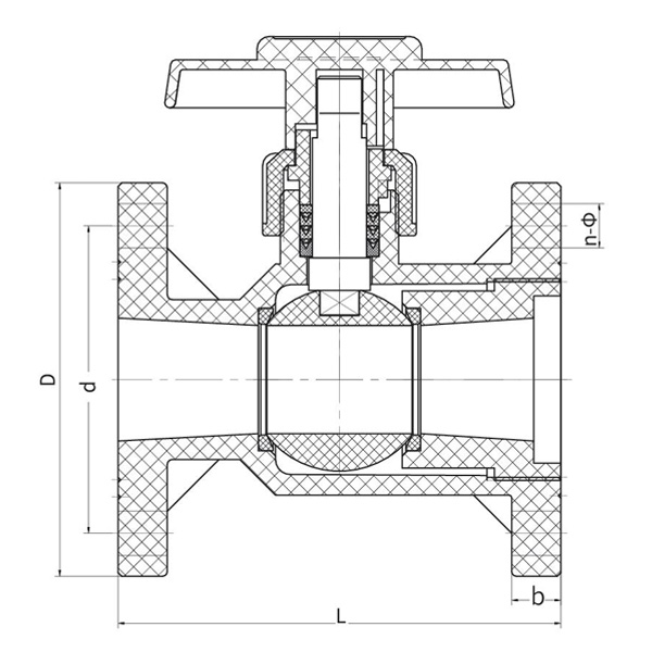
Detailný výkres zostavy guľového ventilu Boddily Form

Tabuľka materiálov dielov

Nie Meno Materiál
1 Rukoväť Zliatinový materiál
2 Upevňovacia matica FRPP, PVDF, PVC-U, PVC-C, PPH
3 Lokalizačný krúžok FRPP, PVDF, PVC-U, PVC-C, PPH
4 Stonka FRPP, PVDF, PVC-U, PVC-C, PPH
5 Stonka seal PTFE
6 Zapečatená guľa PTFE
7 Sedadlo tesnenia FRPP, PVDF, PVC-U, PVC-C, PPH
8 Lopta FRPP, PVDF, PVC-U, PVC-C, PPH
9 Telo FRPP, PVDF, PVC-U, PVC-C, PPH
Zoznam dimenzií

DN (mm) D d L b n-φ
GB JIS ANSI GB JIS ANSI GB JIS ANSI
15 (1/2") 95 95 65 70 120 15 4-15 4-φ15
20 (3/4") 105 100 100 75 75 69.9 120 16 4-φ15 4-φ15 4-16
25 (1") 120 125 110 85 90 79.4 130 16 4-φ15 4-φ19 4-φ16
32 (11/4") 135 135 115 100 100 88.9 145 18 4-Φ18 4-Φ19 4-16
40 (11/2") 145 140 125 110 105 98.4 168 20 4-p18 4φ19 4-φ16
50 (2") 160 155 150 125 120 120.7 180 20 4-φ19 4-φ19 4-18
65 (21/2") 180 175 180 145 140 139.7 225 22 4-19 4-Φ19 4-φ18
80 (3") 195 185 190 160 150 152.4 255 25 8-φ18,5 8-19 4-φ18
100 (4") 229 210 229 180 175 190.5 280 25 8-Φ18,5X20 8-Φ19 8-Φ18,5X20
125 (5") 254 250 254 210 210 215.9 350 30 8-Φ18,5X20 8-Φ23 8-φ22
150 (6") 280 280 280 240 240 241.3 400 30 8-Φ24X27 8-Φ24X27 8-Φ24X27
200 (8") 335 330 335 295 290 298.5 400 35 8-Φ23 12-Φ23 8-Φ22
250 (10") 400 400 400 350 355 362 450 38 12-φ23X26 12-φ25 12-φ26
300 (12") 440 440 400 400 450 38 12-Φ23 16-Φ25

Spätná väzba správy
O nás
Kaixin Pipeline Technologies Co., Ltd.
Založená v roku 1999, Kaixin Pipeline Technologies Co., Ltd. je high-tech podnik integrujúci výskum a vývoj, výrobu, predaj a služby. Spoločnosť je držiteľom viacerých prestížnych certifikácií, vrátane National High-Tech Enterprise, “Little Giant” Specialized and Sophisticated SME, National Single Product Champion (pestovanie), Provincial Technology-based SME, Ningbo Specialized and Sophisticated SME, Ningbo Single Product Champion (kultivácia), Ningbo Polymer Pipe & Valve Technology R&D Center, District-Level Enterprise Management Factory, District-Level Data Management Factornov Úroveň zrelosti spôsobilosti 2.
Špecializujeme sa na vývoj, výrobu a dodávku nekovových antikoróznych produktov pre chemické aplikácie, vrátane plastových ventilov, potrubí, potrubných armatúr a čerpadiel odolných voči korózii. Naše produktové portfólio zahŕňa materiály ako PVC-C, PVC-U, PVDF, PPH a FRPP s komplexnou škálou typov a špecifikácií. Predovšetkým naše škrtiace klapky môžu dosiahnuť priemer DN1000, zatiaľ čo potrubia a armatúry dosahujú až DN800, čím riešia medzery na trhu a zachovávajú si našu konkurenčnú výhodu v tomto odvetví.
Kaixin, ktorý sa riadi zásadou „poháňaný technológiou, držať krok s dobou“, prideľuje ročne takmer 10 miliónov RMB na výskum a vývoj. Zabezpečujeme špičkovú kvalitu produktov prostredníctvom štandardizovanej automatizovanej výroby a prísneho získavania dovážaných surovín. V súlade s našou medzinárodnou stratégiou rozvoja neustále monitorujeme trendy na svetovom trhu a využívame digitálne kanály, aby sme zákazníkom na celom svete priniesli vysokokvalitné produkty „Made in China“.
Ningbo • Fenghua R&D & Production Base
S celkovou investíciou 200 miliónov RMB spoločnosť Kaixin Ultra-Pure Pipe Technology (Ningbo) Co., Ltd. založila v spolupráci s univerzitami a výskumnými ústavmi nové materiálové laboratórium, vybudovala modernú výrobnú základňu a nainštalovala 8 plne automatizovaných výrobných liniek na modifikované plasty a 8 na polymérne materiály. Zariadenie je určené na výskum a vývoj, výrobu a aplikáciu nových modifikovaných plastov a polymérnych materiálov. Kaixin sa tiež zaviazal prilákať špičkových talentov naprieč disciplínami, neustále podporovať inovácie produktov a vývoj značky s cieľom stať sa celosvetovo uznávaným lídrom v oblasti výskumu a vývoja a výroby polymérových ventilov, potrubí a armatúr.
Čestný certifikát
  • honor
  • honor
  • honor
  • honor
  • honor
  • honor
  • honor
  • honor
  • honor
Správy