PVDF G41F-10F Typ B prírubový membránový ventil DN15-100 1/2"-4" ANSI štandard

Vysokokvalitný nový PVDF prírubový 1-cestný membránový ventil pre chemický priemysel, biely, stredný tlak, štandard ANSI
Model: G41F-10F
Farba: Biela
Aplikácia: Všeobecné
Materiál: PVDF
Stredná teplota: vysoká, stredná
Tlak: Stredný
Napájanie: Manuálne
Médium: Kyselina
Veľkosť portu: DN15–DN300
Štruktúra: Membrána
Názov produktu: Membránový ventil
Pripojenie: Prírubový koniec
Certifikát: ISO9001
Tlaková trieda: 1,0 MPa (10 bar)
Typ ventilu: 1-cestný
Tesnenie: EPDM F46
Dodacia lehota: 7 dní
Minimálne množstvo objednávky: 1 kus

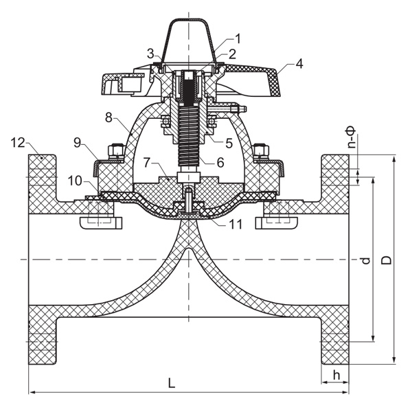
Štrukturálne vlastnosti produktu
1. Tesniaca membrána je vyrobená z F46 alebo PFA, s odolnosťou v ohybe ≥120 000 cyklov a odolnosťou proti korózii ekvivalentnou F4.
2.Ventil má skrutkovú zdvíhaciu štruktúru, vyznačuje sa nízkym prevádzkovým krútiacim momentom a vynikajúcou stabilitou.

App Temperature Bound List

Materiál Stredná teplota ℃ Materiál Stredná teplota ℃
PVC-C -20 ℃ ~ 95 ℃ PVC-U -5 ℃ ~ 45 ℃
FRPP -20 ℃ ~ 120 ℃ PPH -20 ℃ ~ 110 ℃
PVDF 40 ℃ ~ 150 ℃

Tabuľka materiálov dielov
Nie Meno Materiál Množ.
1 Limit krytia AS 1
2 Limit Orech StellSteel 1
3 Poistný krúžok 65 miliónov 1
4 koleso Zliatinový materiál 1
5 Nut Meď 1
6 Stonka Meď 1
7 disk PVDF 1
8 Kapota PVC-C,PVC-U,PVDF,PPH,FRPP 1
9 Platen Q345/Stell 1
10 Flim EPDM 1
11 Membrána F46/PFA/PTFE 1
12 Telo PVC-C,PVC-U,PVDF,PPH,FRPP,PTFE 1

Zoznam dimenzií

Špecifikácia d
(mm)
D
(mm)
L
(mm)
b
(mm)
n-Ф
(mm)
1/2" (15) 60 95 125 14 4-Φ16
3/4" (20) 70 105 135 18 4-Φ16
1" (25) 79 115 145 18 4-Φ16
1¼" (32) 89 135 160 18 4-Φ16
1½" (40) 98 145 180 20 4-Φ16
2" (50) 121 160 210 23 4-Φ19
2½" (65) 140 180 250 24 4-Φ19
3" (80) 152 195 300 28 8-Φ19
4" (100) 191 229 350 29 8-Φ19

Spätná väzba správy
O nás
Kaixin Pipeline Technologies Co., Ltd.
Založená v roku 1999, Kaixin Pipeline Technologies Co., Ltd. je high-tech podnik integrujúci výskum a vývoj, výrobu, predaj a služby. Spoločnosť je držiteľom viacerých prestížnych certifikácií, vrátane National High-Tech Enterprise, “Little Giant” Specialized and Sophisticated SME, National Single Product Champion (pestovanie), Provincial Technology-based SME, Ningbo Specialized and Sophisticated SME, Ningbo Single Product Champion (kultivácia), Ningbo Polymer Pipe & Valve Technology R&D Center, District-Level Enterprise Management Factory, District-Level Data Management Factornov Úroveň zrelosti spôsobilosti 2.
Špecializujeme sa na vývoj, výrobu a dodávku nekovových antikoróznych produktov pre chemické aplikácie, vrátane plastových ventilov, potrubí, potrubných armatúr a čerpadiel odolných voči korózii. Naše produktové portfólio zahŕňa materiály ako PVC-C, PVC-U, PVDF, PPH a FRPP s komplexnou škálou typov a špecifikácií. Predovšetkým naše škrtiace klapky môžu dosiahnuť priemer DN1000, zatiaľ čo potrubia a armatúry dosahujú až DN800, čím riešia medzery na trhu a zachovávajú si našu konkurenčnú výhodu v tomto odvetví.
Kaixin, ktorý sa riadi zásadou „poháňaný technológiou, držať krok s dobou“, prideľuje ročne takmer 10 miliónov RMB na výskum a vývoj. Zabezpečujeme špičkovú kvalitu produktov prostredníctvom štandardizovanej automatizovanej výroby a prísneho získavania dovážaných surovín. V súlade s našou medzinárodnou stratégiou rozvoja neustále monitorujeme trendy na svetovom trhu a využívame digitálne kanály, aby sme zákazníkom na celom svete priniesli vysokokvalitné produkty „Made in China“.
Ningbo • Fenghua R&D & Production Base
S celkovou investíciou 200 miliónov RMB spoločnosť Kaixin Ultra-Pure Pipe Technology (Ningbo) Co., Ltd. založila v spolupráci s univerzitami a výskumnými ústavmi nové materiálové laboratórium, vybudovala modernú výrobnú základňu a nainštalovala 8 plne automatizovaných výrobných liniek na modifikované plasty a 8 na polymérne materiály. Zariadenie je určené na výskum a vývoj, výrobu a aplikáciu nových modifikovaných plastov a polymérnych materiálov. Kaixin sa tiež zaviazal prilákať špičkových talentov naprieč disciplínami, neustále podporovať inovácie produktov a vývoj značky s cieľom stať sa celosvetovo uznávaným lídrom v oblasti výskumu a vývoja a výroby polymérových ventilov, potrubí a armatúr.
Čestný certifikát
  • honor
  • honor
  • honor
  • honor
  • honor
  • honor
  • honor
  • honor
  • honor
Správy